Сообщения без ответов | Активные темы
| Автор |
Сообщение |
|
Fuse
|
Добавлено: Вс сен 20, 2009 9:20 pm |
|
 |
| Самостоятельный |
 |
Зарегистрирован: Пн июн 08, 2009 4:37 pm Сообщения: 34 Откуда: Из СССР Репутация: 7 [ ? ]
Машина: Toyota Camry Gracia
Год выпуска: 1997
Двигатель: 5S-FE
|
Здрасьте, парни!
Я, наконец, вышел с отпуска на работу. Гулял за 2 года всё лето
Трохи охладел к диагностике, но тут на днях заменил ремень ГРМ, и опять подумываю проверить машинку  Заодно и попробую внести пожелания страждущих. Просьба к кому-нибудь свести все пожелания в один пост (т.к. боюсь что-либо пропустить за время отсутствия). Про функцию считывания диагностических кодов и баланса цилиндров не писАть, это я понял. Но вести базу ошибок, я думаю, нет смысла, достаточно только выводить номера ошибок, если таковые имеются. Имхо.
_________________ Camry Gracia'97, 5S-FE (I4, 2.2), A140E, передний привод, Japan [CarTester -> oasis.viptop.ru]
|
|
| Вернуться к началу |
|
 |
|
БелыйГусь
|
Добавлено: Вс сен 20, 2009 9:41 pm |
|
 |
| Хранитель традиций клуба, Модератор |
 |
Зарегистрирован: Пн сен 24, 2007 9:36 pm Сообщения: 4584 Откуда: Москва, ЗАО, Раменки Репутация: 141 [ ? ]
|
Предупреждать надо (с)
Fuse, мы уж не знали что и думать
С балансом цилиндров прошу не торопиться, я днями сформулирую методику, тогда уж и за математику
Добавлено спустя 2 минуты 47 секунд:
truevoxdei писал(а): Вопрос не совсем по теме, но всё же. Когда делаешь "блинк" тест (т.е. считываешь коды ошибок), то ЭБУ в цикле тоже на Vf1 сигнал шлёт? Нет, сигнал идет на W-контакт.
_________________ CarinaE SF, 7A-FE LB, 07.1996, англичанка
|
|
| Вернуться к началу |
|
 |
|
Fuse
|
Добавлено: Вс сен 20, 2009 9:43 pm |
|
 |
| Самостоятельный |
 |
Зарегистрирован: Пн июн 08, 2009 4:37 pm Сообщения: 34 Откуда: Из СССР Репутация: 7 [ ? ]
Машина: Toyota Camry Gracia
Год выпуска: 1997
Двигатель: 5S-FE
|
|
Да я вроде предупреждал, что в командировку еду (был аж в Австралии). А потом и в отпуск спровадили, без предупреждения.
_________________ Camry Gracia'97, 5S-FE (I4, 2.2), A140E, передний привод, Japan [CarTester -> oasis.viptop.ru]
|
|
| Вернуться к началу |
|
 |
|
БелыйГусь
|
Добавлено: Вс сен 20, 2009 10:07 pm |
|
 |
| Хранитель традиций клуба, Модератор |
 |
Зарегистрирован: Пн сен 24, 2007 9:36 pm Сообщения: 4584 Откуда: Москва, ЗАО, Раменки Репутация: 141 [ ? ]
|
Fuse писал(а): в командировку еду (был аж в Австралии). А потом и в отпуск спровадили, без предупреждения. В Австралии отпуск и провел? 
_________________ CarinaE SF, 7A-FE LB, 07.1996, англичанка
|
|
| Вернуться к началу |
|
 |
|
truevoxdei
|
Добавлено: Вс сен 20, 2009 10:33 pm |
|
 |
| Самостоятельный |
Зарегистрирован: Пт сен 18, 2009 8:06 pm Сообщения: 26 Откуда: Иркутск Репутация: 0 [ ? ]
|
Fuse писал(а): ... Но вести базу ошибок, я думаю, нет смысла, достаточно только выводить номера ошибок, если таковые имеются. Имхо. Может всё-таки сделать базу на какой-нибудь встраиваемой СУБД (например firebird embeded), не требует ни настройки, ни инсталляции со стороны пользователя... хотя может я сильно сказал. Да постепенно заполниться участниками клуба.... имхо удобно, когда всё под рукой. Добавлено спустя 12 минут 7 секунд:БелыйГусь писал(а): truevoxdei писал(а): Вопрос не совсем по теме, но всё же. Когда делаешь "блинк" тест (т.е. считываешь коды ошибок), то ЭБУ в цикле тоже на Vf1 сигнал шлёт? Нет, сигнал идет на W-контакт.
Т.е. можно использовать тот же провод, что и для диагностики. Цепляем к
W-контакту (вместо Vf1), далее дело остаётся в реализации программы (открываем COM-порт на считывание данных, читаем цикличный поток data stream, анализируем, выводим результат)? Кстати, заморочек с расшифровкой (в смысле какое значение в потоке какому параметру) заморочек должно быть меньше или как?
_________________ Моя машинка toyota ipsum 1999 г.в. Двигатель 3S-FE. Машина в одних руках с 2004 года (как была растоможена в РФ).
|
|
| Вернуться к началу |
|
 |
|
Fuse
|
Добавлено: Пн сен 21, 2009 10:00 am |
|
 |
| Самостоятельный |
 |
Зарегистрирован: Пн июн 08, 2009 4:37 pm Сообщения: 34 Откуда: Из СССР Репутация: 7 [ ? ]
Машина: Toyota Camry Gracia
Год выпуска: 1997
Двигатель: 5S-FE
|
БелыйГусь писал(а): В Австралии отпуск и провел? 
Его провёл в глубинке, так шта инета и не видел
Почитав предыдущие посты, пока хочу ввести в прогу возможность чтения кодов самодиагностики. Для этого нужно выяснить, какое по амплитуде напряжение относительно E1 на выводе W при замыкании TE1 на E1 и включении зажигания. Есть подозрение, что там либо импульсы +12 В (параллельно с лампой Check Engine), либо W просто замыкается на землю (E1), т.к. можно подключить маломощную лампу между +B и W и она будет моргать так же, как и Check Engine. Кому не трудно, проверьте это дело, а? Но, похоже, придётся городить делитель напряжения из резисторов при считывании кодов, т.к., насколько я понимаю, на com-порт или usb надо не более 5? Или я ошибаюсь?
_________________ Camry Gracia'97, 5S-FE (I4, 2.2), A140E, передний привод, Japan [CarTester -> oasis.viptop.ru]
|
|
| Вернуться к началу |
|
 |
|
voldemarik
|
Добавлено: Пн сен 21, 2009 10:00 am |
|
 |
| Человек-легенда |
 |
Зарегистрирован: Чт дек 13, 2007 1:30 pm Сообщения: 8353 Репутация: 40 [ ? ]
Машина: carina e
Год выпуска: 1995
|
Fuse
это не поможет?
Цитата: TE1 Вывод для чтения кодов системы EFI. Диагностика: "Normal mode" Взять любой провод (а лучше маломощную лампочку-пробник) и замкнуть им выводы "ТЕ1" и "Е1" (DLC No.1 или DLC No.2). В "старых" системах "Т" или "ТЕ". После этого, включив зажигание, следите за лампочкой "CHECK" (лампочка с изображением двигателя, она же "MIL"). Коды можно считать, подключив светодиод к "W". Коды самодиагностики АКПП считываются по числу вспышек индикатора "O/D OFF" при замкнутых выводах "TE1"-"E1", при этом овердрайв должен быть включен
http://carina-e.ru/viewtopic.php?t=527
|
|
| Вернуться к началу |
|
 |
|
Mouflon
|
Добавлено: Пн сен 21, 2009 10:09 am |
|
 |
| Человек-легенда |
 |
Зарегистрирован: Ср фев 13, 2008 2:13 pm Сообщения: 7062 Откуда: Мытищи Репутация: 150 [ ? ]
Машина: Mitsubishi Outlander XL
Год выпуска: 2008
|
voldemarik писал(а): Fuse это не поможет?
Ты читал мои мысли?!?!?!?! Я 5 минут назад подумал - а тут уже ответ.
Спасиба.
_________________ Mitsubishi Outlander XL'2008 6B31 "Кролик" Любителям считать деньги в чужих карманах не хватает времени залатать дыры в своих.
|
|
| Вернуться к началу |
|
 |
|
БелыйГусь
|
Добавлено: Пн сен 21, 2009 10:11 am |
|
 |
| Хранитель традиций клуба, Модератор |
 |
Зарегистрирован: Пн сен 24, 2007 9:36 pm Сообщения: 4584 Откуда: Москва, ЗАО, Раменки Репутация: 141 [ ? ]
|
Fuse писал(а): Есть подозрение По схеме на лампочке и W-контакте всегда висит Плюс с замка зажигания. Когда мозги хотят зажечь Чек-лампочку, они на нее и на W-контакт подают Минус/Массу
| Вложения: |

Управление двигателем 4A-FE LB.jpg [ 238.6 КБ | Просмотров: 6338 ]
|
_________________ CarinaE SF, 7A-FE LB, 07.1996, англичанка
|
|
| Вернуться к началу |
|
 |
|
truevoxdei
|
Добавлено: Пн сен 21, 2009 12:03 pm |
|
 |
| Самостоятельный |
Зарегистрирован: Пт сен 18, 2009 8:06 pm Сообщения: 26 Откуда: Иркутск Репутация: 0 [ ? ]
|
БелыйГусь писал(а): Fuse писал(а): Есть подозрение По схеме на лампочке и W-контакте всегда висит Плюс с замка зажигания. Когда мозги хотят зажечь Чек-лампочку, они на нее и на W-контакт подают Минус/Массу Тогда надо использовать какой-нибудь логический инвертер И-НЕ или НЕ (типа 74HC00 или 74HC04). Если ориентироваться на флаговую реализацию (вход DSR). Когда всё в порядке (лампа check engine не горит, то потенциал высокий - на выходе инвертера логический ноль), как только мозги решили зажечь (т.е. "поморгать" лампой при считывании кода) то на выходе инвертера логическая единица. Кто что скажет? Добавлено спустя 8 минут 27 секунд:Fuse писал(а): ... Есть подозрение, что там либо импульсы +12 В (параллельно с лампой Check Engine), либо W просто замыкается на землю (E1), т.к. можно подключить маломощную лампу между +B и W и она будет моргать так же, как и Check Engine. Кому не трудно, проверьте это дело, а? Но, похоже, придётся городить делитель напряжения из резисторов при считывании кодов, т.к., насколько я понимаю, на com-порт или usb надо не более 5? Или я ошибаюсь?
Насчёт usb адаптера всё правильно говорите - граница между уровнями нуля и единицы находится в пределах +1...2V (если не запамятовал). У самого адаптера собран на Ft232 + 74HC04 (т.к. необходима для сигнала DSR на FT232) и всё работает.
А вот RS232 (он же COM) по стандарту уровень единицы должен быть (может быть???) в пределах +3...12V, а уровень нуля -3...12V.
_________________ Моя машинка toyota ipsum 1999 г.в. Двигатель 3S-FE. Машина в одних руках с 2004 года (как была растоможена в РФ).
|
|
| Вернуться к началу |
|
 |
|
Fuse
|
Добавлено: Пн сен 21, 2009 12:30 pm |
|
 |
| Самостоятельный |
 |
Зарегистрирован: Пн июн 08, 2009 4:37 pm Сообщения: 34 Откуда: Из СССР Репутация: 7 [ ? ]
Машина: Toyota Camry Gracia
Год выпуска: 1997
Двигатель: 5S-FE
|
|
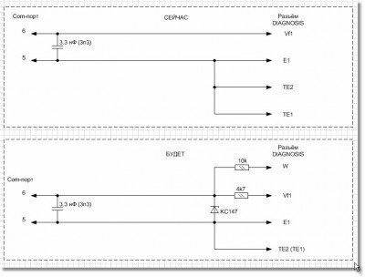
Я думаю, инвертор не понадобится - всё можно сделать программно. А вот по поводу +3..12В для ком-порта - думаю, лучше подстраховаться и работать в пределах 0..5В. А про усб я потом понял, да не успел подправить - он тут не причём, мы же с ком-портом работаем, это потом он может в усб конвертироваться переходником, кто работает через переходники. Предполагается такая схема подключения: контакт Е1 шнурка - на Е1 разъёма (земля, общий), контакт Vf1 (Eng) шнурка - на среднюю точку делителя, делитель - на W и Е1 разъёма, контакт ТЕ2 шнурка - на ТЕ1 разъёма (в варианте моего шнурка, где нет четвёртого проводка, TE1). У кого он есть, во избежание путаницы на ТЕ1 разъёма садить ТЕ1 шнурка, а ТЕ2 шнурка останется не задействован. Делитель будет состоять из двух последовательно соединённых резисторов на 10 кОм и 3.9 кОм. Резистор на 10 кОм будет подключаться на W, а 3.9 кОм - на E1. Средняя точка - к ней будет идти Vf1 (Eng) сигнальный шнурка. Проверьте меня.
_________________ Camry Gracia'97, 5S-FE (I4, 2.2), A140E, передний привод, Japan [CarTester -> oasis.viptop.ru]
|
|
| Вернуться к началу |
|
 |
|
Mouflon
|
Добавлено: Пн сен 21, 2009 12:51 pm |
|
 |
| Человек-легенда |
 |
Зарегистрирован: Ср фев 13, 2008 2:13 pm Сообщения: 7062 Откуда: Мытищи Репутация: 150 [ ? ]
Машина: Mitsubishi Outlander XL
Год выпуска: 2008
|
Fuse писал(а): Я думаю, инвертор не понадобится - всё можно сделать программно. А вот по поводу +3..12В для ком-порта - думаю, лучше подстраховаться и работать в пределах 0..5В. А про усб я потом понял, да не успел подправить - он тут не причём, мы же с ком-портом работаем, это потом он может в усб конвертироваться переходником, кто работает через переходники. Предполагается такая схема подключения: контакт Е1 шнурка - на Е1 разъёма (земля, общий), контакт Vf1 (Eng) шнурка - на среднюю точку делителя, делитель - на W и Е1 разъёма, контакт ТЕ2 шнурка - на ТЕ1 разъёма (в варианте моего шнурка, где нет четвёртого проводка, TE1). У кого он есть, во избежание путаницы на ТЕ1 разъёма садить ТЕ1 шнурка, а ТЕ2 шнурка останется не задействован. Делитель будет состоять из двух последовательно соединённых резисторов на 10 кОм и 3.9 кОм. Резистор на 10 кОм будет подключаться на W, а 3.9 кОм - на E1. Средняя точка - к ней будет идти Vf1 (Eng) сигнальный шнурка. Проверьте меня.
Если получится сегодня сляпаю - посмотрим 
_________________ Mitsubishi Outlander XL'2008 6B31 "Кролик" Любителям считать деньги в чужих карманах не хватает времени залатать дыры в своих.
|
|
| Вернуться к началу |
|
 |
|
sedoy2000
|
Добавлено: Пн сен 21, 2009 7:46 pm |
|
 |
| Герой былин народных |
 |
Зарегистрирован: Чт фев 05, 2009 6:38 pm Сообщения: 3813 Откуда: Пермский край Репутация: 65 [ ? ]
Машина: QASHQAI
Год выпуска: 2010
Двигатель: HR16DE
|
 Все эти заморочки лишь для того, чтобы считать коды ошибок? А поначалу хотели сделать общедоступную систему диагностики.
Fuse писал(а): Резистор на 10 кОм будет подключаться на W, а 3.9 кОм - на E1. Может лучше вместо 3,9кОм установить стабилитрон 5,1 В?
_________________ CarinaE GLI 4A-FE(Lean Burn) 1993г. механика JPP красный (3j6) седан. Skoda Octavia Combi tour Год выпуска 2005 Двигатель 1,6 AKL ( всё в прошлом), CarinaE GLI LB 3S-fe 1992г. механика, JPP синенький лифт.
|
|
| Вернуться к началу |
|
 |
|
dan-v
|
Добавлено: Вт сен 22, 2009 1:33 am |
|
 |
| Самостоятельный |
Зарегистрирован: Ср июн 03, 2009 6:42 pm Сообщения: 40 Откуда: Санкт-Петербург Репутация: 0 [ ? ]
|
|
Еще предлагаю в самой оболочке программы каждый график выводить в отдельных осях координат, чтобы они не пересекались.
_________________ 5E-FE, МКПП, 1999 г.р., правый руль.
|
|
| Вернуться к началу |
|
 |
|
Inspek
|
Добавлено: Вт сен 22, 2009 5:59 am |
|
 |
| Бригадир |
 |
Зарегистрирован: Ср май 13, 2009 12:28 pm Сообщения: 123 Откуда: Крым, Севастополь; Россия, Норильск.. Репутация: 0 [ ? ]
Машина: Toyota Carina E Sedan Flash
Год выпуска: 1997
Двигатель: 7A-FE 1.8 LB
|
Поддержу sedoy2000 скромным мнением простого пользователя: если нужно будет паять какую-либо доп. схему более чем из 1-2 деталей - общедоступность пропадет как таковая. Сам паяльника не боюсь, но считать ошибки скрепкой и проинтерпретировать их с помощью букваря или инфо с форума мне будет проще, чем заморачиваться поиском деталей и монтажом схемы.
Один стабилитрон или пару сопротивлений спрятать в коробочку штекера сом-порта еще куда ни шло, хоть и потребует уже поездок по радиомагазинам (ездить не страшно, стоять и тупить - куда хуже  )
Но в программе такая возможность - хорошо, а паять-не паять уже каждый пользователь для себя решит сам.
ИМХО.
_________________ Carina E, '09.97, 1,8 LB, МКПП, Flash, зеленый седан, англичанка.
|
|
| Вернуться к началу |
|
 |
|
Fuse
|
Добавлено: Вт сен 22, 2009 7:11 am |
|
 |
| Самостоятельный |
 |
Зарегистрирован: Пн июн 08, 2009 4:37 pm Сообщения: 34 Откуда: Из СССР Репутация: 7 [ ? ]
Машина: Toyota Camry Gracia
Год выпуска: 1997
Двигатель: 5S-FE
|
sedoy2000 писал(а): :o Все эти заморочки лишь для того, чтобы считать коды ошибок? А поначалу хотели сделать общедоступную систему диагностики.
Для того, и ещё для того, чтобы не спалить адаптер usb-com или com-порт. Если мне аппаратчики компьютерные скажут, что на com-порт можно напрямую подавать +12..13В, или на адаптер usb-com, то и деталей не понадобится, хотя это сомнительно. Всё-же лучше предостеречься. Предлагается новый кабель. Для этого надо будет спаять 2 резистора и стабилитрон: резисторы 10кОм, 4.7 кОм и стабилитрон КС147. Их можно в кабель запрятать так, что будет также выходить 4 проводка - на E1, TE2(TE1), W и Vf1(Eng). Только ТЕ1 уже не будет связан с Е1, а будет называться W. Хочешь коды - юзаешь Е1, ТЕ2(TE1) и W, хочешь диагностику - Е1, ТЕ2(TE1) и Vf1 (Eng). В первом случае ТЕ2(TE1) цепляется на ТЕ1 (для вывода кодов), во втором - на ТЕ2 (как сейчас, при диагностике). См. рисунок старого и нового кабелей. Обсуждение сложности кабеля и доступности для повторения приветствуется.
| Вложения: |

Кабель.jpg [ 63.9 КБ | Просмотров: 6388 ]
|
_________________ Camry Gracia'97, 5S-FE (I4, 2.2), A140E, передний привод, Japan [CarTester -> oasis.viptop.ru]
Последний раз редактировалось Fuse Вт сен 22, 2009 9:47 am, всего редактировалось 1 раз.
|
|
| Вернуться к началу |
|
 |
|
Inspek
|
Добавлено: Вт сен 22, 2009 9:15 am |
|
 |
| Бригадир |
 |
Зарегистрирован: Ср май 13, 2009 12:28 pm Сообщения: 123 Откуда: Крым, Севастополь; Россия, Норильск.. Репутация: 0 [ ? ]
Машина: Toyota Carina E Sedan Flash
Год выпуска: 1997
Двигатель: 7A-FE 1.8 LB
|
Fuse,
преговорил с нашим сервисом. Аппаратчики категоричного ответа не дали, но сослались на дата-шит по микросхемам сом-порта. Ответ - не более +5В и не менее +3,3В. Так что без доп.железа, похоже, не обойдемся.
Ссылка на форум PCCar, там одна из темок косвенно подтверждает ограничение в +5В.
По схеме. Судя по подборке схем как-то не очень все это просто...
Зачем такое мутят, если можно обойтись 2 копеечными деталями? Это не в плане критики, это вопроса такой. 
_________________ Carina E, '09.97, 1,8 LB, МКПП, Flash, зеленый седан, англичанка.
Последний раз редактировалось Inspek Вт сен 22, 2009 9:31 am, всего редактировалось 2 раз(а).
|
|
| Вернуться к началу |
|
 |
|
dan-v
|
Добавлено: Вт сен 22, 2009 9:18 am |
|
 |
| Самостоятельный |
Зарегистрирован: Ср июн 03, 2009 6:42 pm Сообщения: 40 Откуда: Санкт-Петербург Репутация: 0 [ ? ]
|
|
Лично я не вижу особых проблем спаять кабель, ну и как было справедливо сказано: кто не хочет, тот не паяет и пользуется только считываением данных с Vf.
_________________ 5E-FE, МКПП, 1999 г.р., правый руль.
|
|
| Вернуться к началу |
|
 |
|
voldemarik
|
Добавлено: Вт сен 22, 2009 9:28 am |
|
 |
| Человек-легенда |
 |
Зарегистрирован: Чт дек 13, 2007 1:30 pm Сообщения: 8353 Репутация: 40 [ ? ]
Машина: carina e
Год выпуска: 1995
|
|
БелыйГусь, помнится вы описывали методику проверки датчик обедненки, типа скольо колебаний в секунду, в прогу это ни как нельзя внедрить?
|
|
| Вернуться к началу |
|
 |
|
sedoy2000
|
Добавлено: Вт сен 22, 2009 9:58 am |
|
 |
| Герой былин народных |
 |
Зарегистрирован: Чт фев 05, 2009 6:38 pm Сообщения: 3813 Откуда: Пермский край Репутация: 65 [ ? ]
Машина: QASHQAI
Год выпуска: 2010
Двигатель: HR16DE
|
voldemarik писал(а): типа скольо колебаний в секунду А "бедный" тоже так проверяется? можно подробней... Inspek писал(а): Зачем такое мутят, если можно обойтись 2 копеечными деталями? Вообщ-то всё это для согласования интерфейсов, хотя, естественно, прекрасно работают и простенькие схемы. Fuse писал(а): Для того, и ещё для того, чтобы не спалить адаптер usb-com Это я уже понял. Только нужно будет сразу предупреждать людей dan-v писал(а): кто не хочет, тот не паяет и пользуется только считываением данных с Vf. А то многие как увидят наши схемы - за головы схватятся (ну не все же тесно общаются с паяльником )
_________________ CarinaE GLI 4A-FE(Lean Burn) 1993г. механика JPP красный (3j6) седан. Skoda Octavia Combi tour Год выпуска 2005 Двигатель 1,6 AKL ( всё в прошлом), CarinaE GLI LB 3S-fe 1992г. механика, JPP синенький лифт.
|
|
| Вернуться к началу |
|
 |
|
voldemarik
|
Добавлено: Вт сен 22, 2009 10:19 am |
|
 |
| Человек-легенда |
 |
Зарегистрирован: Чт дек 13, 2007 1:30 pm Сообщения: 8353 Репутация: 40 [ ? ]
Машина: carina e
Год выпуска: 1995
|
sedoy2000 писал(а): А "бедный" тоже так проверяется? можно подробней...
Я про бедный. Для этого нужен бортовой комп, который показывает график ...... и смотрится сколько колебаний в секунду.
У тебя же новый датчик, интересно посмотреть на твои показания.
|
|
| Вернуться к началу |
|
 |
|
dan-v
|
Добавлено: Вт сен 22, 2009 10:52 am |
|
 |
| Самостоятельный |
Зарегистрирован: Ср июн 03, 2009 6:42 pm Сообщения: 40 Откуда: Санкт-Петербург Репутация: 0 [ ? ]
|
voldemarik писал(а): sedoy2000 писал(а): А "бедный" тоже так проверяется? можно подробней... Я про бедный. Для этого нужен бортовой комп, который показывает график ...... и смотрится сколько колебаний в секунду. У тебя же новый датчик, интересно посмотреть на твои показания. Кстати, обычный тоже можно так проверить. Было бы интересно внедрить это в прогу.
ЗЫ можно выложить две схемы: "простую" и "сложную"
_________________ 5E-FE, МКПП, 1999 г.р., правый руль.
|
|
| Вернуться к началу |
|
 |
|
sedoy2000
|
Добавлено: Вт сен 22, 2009 11:07 am |
|
 |
| Герой былин народных |
 |
Зарегистрирован: Чт фев 05, 2009 6:38 pm Сообщения: 3813 Откуда: Пермский край Репутация: 65 [ ? ]
Машина: QASHQAI
Год выпуска: 2010
Двигатель: HR16DE
|
dan-v писал(а): можно выложить две схемы: "простую" и "сложную" во-во... и я про то же voldemarik писал(а): Для этого нужен бортовой комп его-то и нет  , может осцилографом? voldemarik писал(а): и смотрится сколько колебаний в секунду откуда сигнал брать?
_________________ CarinaE GLI 4A-FE(Lean Burn) 1993г. механика JPP красный (3j6) седан. Skoda Octavia Combi tour Год выпуска 2005 Двигатель 1,6 AKL ( всё в прошлом), CarinaE GLI LB 3S-fe 1992г. механика, JPP синенький лифт.
|
|
| Вернуться к началу |
|
 |
|
БелыйГусь
|
Добавлено: Вт сен 22, 2009 11:31 am |
|
 |
| Хранитель традиций клуба, Модератор |
 |
Зарегистрирован: Пн сен 24, 2007 9:36 pm Сообщения: 4584 Откуда: Москва, ЗАО, Раменки Репутация: 141 [ ? ]
|
sedoy2000 писал(а): voldemarik писал(а): Для этого нужен бортовой комп его-то и нет  , может осцилографом? voldemarik писал(а): и смотрится сколько колебаний в секунду откуда сигнал брать? Вольдемарик как всегда не договаривает
Речь о колебаниях длительности впрыска на форсунках, управляемой мозгами в зависимости от указаний бедного датчика. Писано про это было на старом форуме - http://www.carinae.ru/forum/viewtopic.p ... 151#p41151
Внедрить эту штуковину в нашу программу невозможно по причине низкой частоты обновления данных в программе 
_________________ CarinaE SF, 7A-FE LB, 07.1996, англичанка
|
|
| Вернуться к началу |
|
 |
|
voldemarik
|
Добавлено: Вт сен 22, 2009 11:56 am |
|
 |
| Человек-легенда |
 |
Зарегистрирован: Чт дек 13, 2007 1:30 pm Сообщения: 8353 Репутация: 40 [ ? ]
Машина: carina e
Год выпуска: 1995
|
БелыйГусь писал(а): Внедрить эту штуковину в нашу программу невозможно по причине низкой частоты обновления данных в программе
ну а как же бортовой комп видит это?
Просто смотрю, начинают придумывать новые "детали шнура", так может и для этого можно что то придумать.
|
|
| Вернуться к началу |
|
 |
Кто сейчас на конференции |
Сейчас этот форум просматривают: нет зарегистрированных пользователей и гости: 18 |
|
Вы не можете начинать темы Вы не можете отвечать на сообщения Вы не можете редактировать свои сообщения Вы не можете удалять свои сообщения Вы не можете добавлять вложения
|
|